统一服务热线18352608652
产品展示位置:首页 > 产品展示
triumph

TP300Z2液晶多功能电力仪表

测量三相电压、电流、分相有功、无功、视在功率、总有功、无功、频率、功率因数、电能等
  • 主要特点
  • 技术指标

特点:测量三相电压、电流、分相有功、无功、视在功率、总有功、无功、频率、功率因数、电能等

测量精度:无功电能1级,其它0.5级
RS485/Modbus-RTU协议,RS232/Profibus-DP协议,

DL/ T645-2007协议,以太网MODBUS-TCP协议,可增配1路通讯口

点阵中文LCD显示
2路电能脉冲输出
1-3路模拟量、4路开入、2路开出(选配)


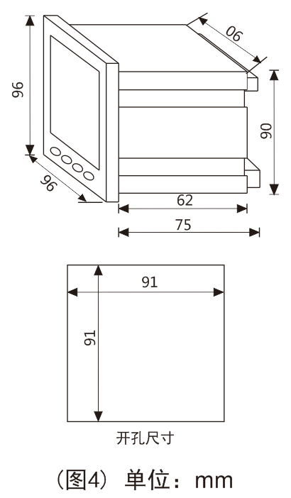
外形尺寸: