统一服务热线18352608652
产品展示位置:首页 > 产品展示
triumph

TP310C2液晶多功能电力仪表

  • 主要特点
  • 技术指标

特点: 测量三相电压、电流、功率、频率、功率因数、电能、2-63次谐波等
测量精度:无功电能1级,其它0.5级
RS485/Modbus-RTU协议,RS232/Profibus-DP协议, DL/ T645-2007协议,

以太网MODBUS-TCP协议,可增配1路通讯口

彩屏LCD全中文显示
2路电能脉冲输出
1-3路模拟量、4路开入、2路开出(选配)


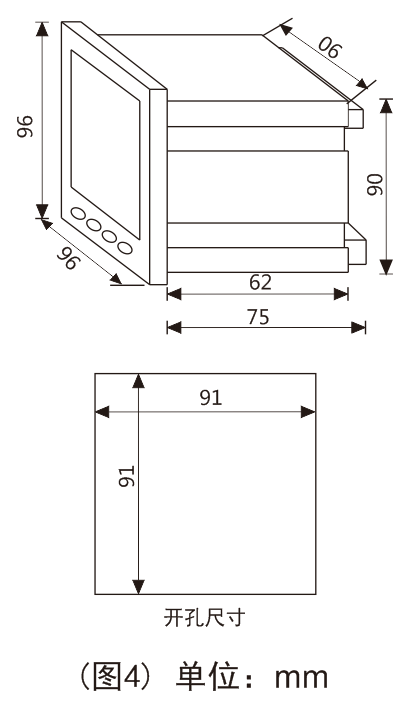
外形尺寸: