统一服务热线18352608652
产品展示位置:首页 > 产品展示
triumph

TP320Y2液晶多功能电力仪表

测量三相电压、电流、功率、频率、功率因数、电能、最大需量,带1套复费率电能计量等
  • 主要特点
  • 技术指标

特点: 测量三相电压、电流、功率、频率、功率因数、电能、最大需量,带1套复费率电能计量等
测量精度:无功电能1级,其它0.5级
RS485/Modbus-RTU协议,RS232/Profibus-DP协议, DL/ T645-2007协议,

以太网MODBUS-TCP协议,可增配1路通讯口

笔段LCD显示
2路电能脉冲输出
1-3路模拟量、4路开入、2路开出(选配)


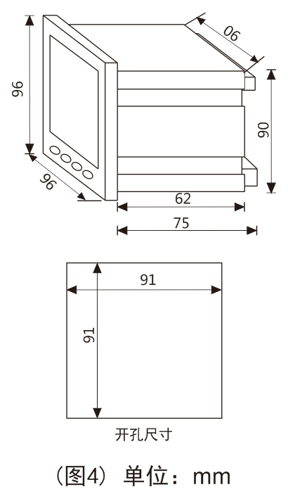
外形尺寸: